ij³í Photo&TalK
 
NewÇ÷¡±×½ÊÀ» À§ÇÑ Ä³³íÀÇ ¹«À½ Áøµ¿ ¼ÅÅÍ Æ¯Çã ¸ñ·Ï
±Û¾´ÀÌ : ³×¸ð¼¼»ó µî·ÏÀÏ : 2023-10-31 16:35:14 Á¶È¸¼ö : 2,056 Ãßõ¼ö : 0

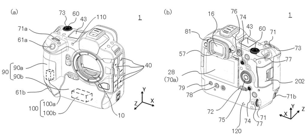
ij³íÀÌ µ¶Æ¯ÇÑ Æ¯Çã ±â¼úÀ» µî·ÏÇß½À´Ï´Ù.
ÀÌ ±â¼úÀº ¼Ò¸®°¡ ÀüÇô ¾ø´Â ÀüÀÚ ¼ÅÅÍ ÃÔ¿µ½Ã
±×¸³ÇÑ ¼Õ¿¡ Ã˰¢À» Àü´ÞÇØÁÖ´Â ±â´ÉÀä

±× ¸Åü´Â ¹Ùµð¿¡¼­ ¹ß»ýÇÏ´Â ¹Ì¼¼ÇÑ Áøµ¿ ÀÔ´Ï´Ù.
¼ÅÅ͸¦ ²÷´Â ¼ø°£¸¶´Ù ÃÔ¿µ¿¡ ÀüÇô ÁöÀåÀ» ÁÖÁö ¾Ê°í
¼ÒÀ½ ¾ø´Â Áøµ¿À» ¼ÕÀ¸·Î Àü´ÞÇÏ¿©
ÃÔ¿µ°¨À» ´À³¢°Ô ÇØÁÖ·Á´Â ¸ñÀûÀÎµí º¸À̳׿ä.

ƯÈ÷ ±â¼ú¿¡ »ç¿ëµÈ À̹ÌÁö°¡
EOS R1 À̳ª R3 ÈļÓÀ» ¿¬»óÄÉ ÇÕ´Ï´Ù.




¡Ú ³×¸ð¼¼»ó´ÔÀÇ ÆËÄÚ ¾Ù¹ü ¡Ú
https://photo.popco.net/nemoworld
Ãßõ 0
ÆËÄÚ³ÝÀº ȸ¿ø¿©·¯ºÐµéÀÌ °¡²Ù¾î °¡´Â °ø°£ÀÔ´Ï´Ù.

»ó´ë¿¡°Ô »óó¸¦ Áֱ⺸´Ù´Â °°ÀÌ Áñ°Å¿ö ÇÒ ¼ö ÀÖ´Â ¸ÚÁø ÄÚ¸àÆ® ºÎʵå·Á¿ä.
»ó´ë¹æ¿¡ ´ëÇÑ ºñ¹æÀ̳ª ¿å¼³µî ºÎÀûÀýÇÑ ÄÚ¸àÆ®ÀÇ °æ¿ì ¿î¿µÁøÀÇ ÆÇ´ÜÇÏ¿¡ »èÁ¦µÉ ¼ö ÀÖÀ¸´Ï ÁÖÀÇ ºÎʵ右´Ï´Ù.

¼Ò¼È ·Î±×ÀÎ ³²°ÜÁֽŠÀǰßÀº ÆËÄÚ³Ýȸ¿ø ºÐµé¿¡°Ô Å« º¸Åưú ÈûÀÌ µË´Ï´Ù. »õ·Î°íħ

·Î±×ÀÎÈÄ ´ñ±ÛÀ» ÀÛ¼ºÇÒ ¼ö ÀÖ½À´Ï´Ù. ÀÌÀ¯: ±ÇÇÑÀÌ ¾ø´Â ȸ¿ø·¹º§
½Å°í
  
¹øÈ£ Á¦¸ñ ±Û¾´ÀÌ µî·ÏÀÏ Ãßõ Á¶È¸
21860 »çÁø°Ô½ÃÆÇ   R 7 ¼­¿ï¿ª»ç¹Ú¹°°ü  ¹¹Å͸® 16:28:22 0 39
21859 »çÁø°Ô½ÃÆÇ   [R6MK2] µÇµµ¾Ê°Ô º¸ÄÉÇÊÅÍ·Î »çÁøÂïÀº ³¯,,,  AF¢â[R6MK2] 2026-01-06 0 147
21858 »çÁø°Ô½ÃÆÇ   R7¾Æ¹ÙŸ3 ´Þ½ÉÀÌ Æí (¹æ¼ÛºÐ ĸó) 4  ¹¹Å͸® 2025-12-29 2 220
21857 »çÁø°Ô½ÃÆÇ   R7 ¾ÆÀÌ ¹ßǥȸ 4  ¹¹Å͸® 2025-12-24 2 218
21856 »çÁø°Ô½ÃÆÇ   â°í û¼ÒÁß ÀÔ´Ï´Ù. 6  ¹¹Å͸® 2025-12-23 3 206
21855 »çÁø°Ô½ÃÆÇ   1DS mark3 ef135mm ¾î´ÀÇØ ±×°¡À»³¯ 6  ¹¹Å͸® 2025-12-03 3 303
21854 »çÁø°Ô½ÃÆÇ   °èÀýÀÇ ¹®ÅΠ6  ¹¹Å͸® 2025-11-26 3 282
21853 »çÁø°Ô½ÃÆÇ   ÃÊ´ë ¹ÞÁö ¾ÊÀº ÀÚ 8  ¹¹Å͸® 2025-11-25 4 337
21852 »çÁø°Ô½ÃÆÇ   eos 100D ¾Ö¹°´ÜÁö »ïÃÑ»ç ±×¸®°í ¸ð³ëÆ÷Æ® 8  ¹¹Å͸® 2025-11-21 3 332
21851 »çÁø°Ô½ÃÆÇ   1ds mark3 ÀºÇàÀÙ ÇÊÅÍ 8  ¹¹Å͸® 2025-11-21 4 341
21850 »çÁø°Ô½ÃÆÇ   R7 È¥·Ê¹®È­ 8  ¹¹Å͸® 2025-11-14 4 366
21849 »çÁø°Ô½ÃÆÇ   1ds m3 ȸ»ó 8  ¹¹Å͸® 2025-11-12 4 331
21848 »çÁø°Ô½ÃÆÇ   EOS M6 Mark2 Å×½ºÆ®  Èê·¯°¡´Â ±¸¸§Ã³·³ 2025-11-11 0 297
21847 »çÁø°Ô½ÃÆÇ   °­È­µµ ³ªµéÀÌ 8  ¹¹Å͸® 2025-11-11 4 319
21846 »çÁø°Ô½ÃÆÇ   µÞ »ê µÑ·¹±æ °¡·Á´Ù 10  ¹¹Å͸® 2025-11-07 4 367
21845 »çÁø°Ô½ÃÆÇ   ²É ¸Þ¸®°ñµå 5  ¹¹Å͸® 2025-11-03 3 288
21844 »çÁø°Ô½ÃÆÇ   ¾ß°æ ºû°¥¶óÁü ºñ±³ 5D 4  ¹¹Å͸® 2025-10-30 2 321
21843 »çÁø°Ô½ÃÆÇ   ¸ð³à ¿¤·¹Áö 6  ¹¹Å͸® 2025-10-29 3 382
21842 »çÁø°Ô½ÃÆÇ   ³² °ú ¿© 6  ¹¹Å͸® 2025-10-28 3 405
21841 »çÁø°Ô½ÃÆÇ   ¾Æ·¡ ,,, ¸¶À½¸ÔÀº´ë·Î,,, ¿¡ µ¿¿øµÈ ¹°°Ç 4  ¹¹Å͸® 2025-10-22 2 334
21840 »çÁø°Ô½ÃÆÇ   ¸¶À½¸ÔÀº´ë·Î ¾Æ´Ï µÇ¿É´Ï´Ù 6  ¹¹Å͸® 2025-10-20 3 421
21839 »çÁø°Ô½ÃÆÇ   2025 ¾Æµ¦½º Çà»çÁß À̶ó´Âµ¥  4  ¹¹Å͸® 2025-10-17 2 369
21838 »çÁø°Ô½ÃÆÇ   ef50mmF1.4 ·»Áî ¾Ö¿ë ÇÏ·ÁÇÕ´Ï´Ù 6  ¹¹Å͸® 2025-10-16 2 474
21837 »çÁø°Ô½ÃÆÇ   ÀÛÀºÀü½Ã°ü ¿¡¼­ º» 6  ¹¹Å͸® 2025-10-15 3 357
    
Åå BEST ¼±Á¤ÀÛ
  • Çü»ó±â¾ï´Ô
  • ºÎÀڹ̼ҴÔ
  • ºÎÀڹ̼ҴÔ
  • Â÷»ç¶û777´Ô
  • ºÎÀڹ̼ҴÔ
Copyright 1999-2026 Zeroboard
¸ÇÀ§·Î