ij³í Photo&TalK
 
ij³íÀÇ ½Ã¼±ÀÔ·Â AF, ¹Ì·¯¸®½º·Î ºÎȰÇÒ±î? ¸ñ·Ï
±Û¾´ÀÌ : ³×¸ð¼¼»ó µî·ÏÀÏ : 2021-02-20 16:36:07 Á¶È¸¼ö : 2,603 Ãßõ¼ö : 0
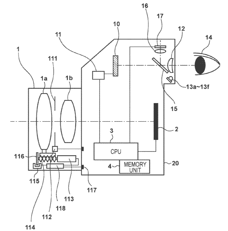
Ãֱ٠ij³íÀÇ ¹Ì·¯¸®½º¸¦ À§ÇÑ Æ¯Çã°¡ Ãâ¿ø µÆ½À´Ï´Ù. ¹Ù·Î ½Ã¼± ÀÔ·Â

°ú°Å EOS 5 / EOS 3 µî¿¡ žÀçµÈ ±â´É°ú ºñ½ÁÇѵ¥
»ç¶÷ÀÇ ½Ã¼±À» ÀÌ¿ëÇØ AF¸¦ ÄÁÆ®·Ñ ÇÏ´Â °ÍÀ̾úÁÒ.

À̹ø ƯÇã´Â ¹Ì·¯¸®½º ¿ëÀ¸·Î ¼±º¸ÀÎ ±â¼ú·Î º¸À̱¸¿ä.
ÀÌ¹Ì 2019³âÀÇ °ü·Ã ƯÇã°¡ ÀÖ¾ú´Âµ¥
À̹ø¿£ »ç¿ëÀÚ ½Äº° ±â´É°ú
ÀÌÀü¿¡ º» °ÍÀ» ±â¾ïÇÏ´Â ±â¾ï ±â´ÉÀ» Ãß°¡Çß´Ù°í ÇÕ´Ï´Ù.^^





http://www.northlight-images.co.uk/canon-camera-rumours-and-info/


¡Ú ³×¸ð¼¼»ó´ÔÀÇ ÆËÄÚ ¾Ù¹ü ¡Ú
https://photo.popco.net/nemoworld
Ãßõ 0
ÆËÄÚ³ÝÀº ȸ¿ø¿©·¯ºÐµéÀÌ °¡²Ù¾î °¡´Â °ø°£ÀÔ´Ï´Ù.

»ó´ë¿¡°Ô »óó¸¦ Áֱ⺸´Ù´Â °°ÀÌ Áñ°Å¿ö ÇÒ ¼ö ÀÖ´Â ¸ÚÁø ÄÚ¸àÆ® ºÎʵå·Á¿ä.
»ó´ë¹æ¿¡ ´ëÇÑ ºñ¹æÀ̳ª ¿å¼³µî ºÎÀûÀýÇÑ ÄÚ¸àÆ®ÀÇ °æ¿ì ¿î¿µÁøÀÇ ÆÇ´ÜÇÏ¿¡ »èÁ¦µÉ ¼ö ÀÖÀ¸´Ï ÁÖÀÇ ºÎʵ右´Ï´Ù.

¼Ò¼È ·Î±×ÀÎ ³²°ÜÁֽŠÀǰßÀº ÆËÄÚ³Ýȸ¿ø ºÐµé¿¡°Ô Å« º¸Åưú ÈûÀÌ µË´Ï´Ù. »õ·Î°íħ

·Î±×ÀÎÈÄ ´ñ±ÛÀ» ÀÛ¼ºÇÒ ¼ö ÀÖ½À´Ï´Ù. ÀÌÀ¯: ±ÇÇÑÀÌ ¾ø´Â ȸ¿ø·¹º§
½Å°í
  
¹øÈ£ Á¦¸ñ ±Û¾´ÀÌ µî·ÏÀÏ Ãßõ Á¶È¸
21862 »çÁø°Ô½ÃÆÇ   r7 ¼­¿ï¿ª»ç ¹ß¹°°ü 2 1  ¹¹Å͸® 15:48:57 1 15
21861 »çÁø°Ô½ÃÆÇ   Áö¿Â´Ô...  won3d1234 2026-01-13 0 61
21860 »çÁø°Ô½ÃÆÇ   R 7 ¼­¿ï¿ª»ç¹Ú¹°°ü 6  ¹¹Å͸® 2026-01-12 2 92
21859 »çÁø°Ô½ÃÆÇ   [R6MK2] µÇµµ¾Ê°Ô º¸ÄÉÇÊÅÍ·Î »çÁøÂïÀº ³¯,,,  AF¢â[R6MK2] 2026-01-06 0 164
21858 »çÁø°Ô½ÃÆÇ   R7¾Æ¹ÙŸ3 ´Þ½ÉÀÌ Æí (¹æ¼ÛºÐ ĸó) 4  ¹¹Å͸® 2025-12-29 2 232
21857 »çÁø°Ô½ÃÆÇ   R7 ¾ÆÀÌ ¹ßǥȸ 4  ¹¹Å͸® 2025-12-24 2 229
21856 »çÁø°Ô½ÃÆÇ   â°í û¼ÒÁß ÀÔ´Ï´Ù. 6  ¹¹Å͸® 2025-12-23 3 217
21855 »çÁø°Ô½ÃÆÇ   1DS mark3 ef135mm ¾î´ÀÇØ ±×°¡À»³¯ 6  ¹¹Å͸® 2025-12-03 3 309
21854 »çÁø°Ô½ÃÆÇ   °èÀýÀÇ ¹®ÅΠ6  ¹¹Å͸® 2025-11-26 3 289
21853 »çÁø°Ô½ÃÆÇ   ÃÊ´ë ¹ÞÁö ¾ÊÀº ÀÚ 8  ¹¹Å͸® 2025-11-25 4 339
21852 »çÁø°Ô½ÃÆÇ   eos 100D ¾Ö¹°´ÜÁö »ïÃÑ»ç ±×¸®°í ¸ð³ëÆ÷Æ® 8  ¹¹Å͸® 2025-11-21 3 336
21851 »çÁø°Ô½ÃÆÇ   1ds mark3 ÀºÇàÀÙ ÇÊÅÍ 8  ¹¹Å͸® 2025-11-21 4 344
21850 »çÁø°Ô½ÃÆÇ   R7 È¥·Ê¹®È­ 8  ¹¹Å͸® 2025-11-14 4 371
21849 »çÁø°Ô½ÃÆÇ   1ds m3 ȸ»ó 8  ¹¹Å͸® 2025-11-12 4 337
21848 »çÁø°Ô½ÃÆÇ   EOS M6 Mark2 Å×½ºÆ®  Èê·¯°¡´Â ±¸¸§Ã³·³ 2025-11-11 0 302
21847 »çÁø°Ô½ÃÆÇ   °­È­µµ ³ªµéÀÌ 8  ¹¹Å͸® 2025-11-11 4 322
21846 »çÁø°Ô½ÃÆÇ   µÞ »ê µÑ·¹±æ °¡·Á´Ù 10  ¹¹Å͸® 2025-11-07 4 372
21845 »çÁø°Ô½ÃÆÇ   ²É ¸Þ¸®°ñµå 5  ¹¹Å͸® 2025-11-03 3 293
21844 »çÁø°Ô½ÃÆÇ   ¾ß°æ ºû°¥¶óÁü ºñ±³ 5D 4  ¹¹Å͸® 2025-10-30 2 327
21843 »çÁø°Ô½ÃÆÇ   ¸ð³à ¿¤·¹Áö 6  ¹¹Å͸® 2025-10-29 3 386
21842 »çÁø°Ô½ÃÆÇ   ³² °ú ¿© 6  ¹¹Å͸® 2025-10-28 3 410
21841 »çÁø°Ô½ÃÆÇ   ¾Æ·¡ ,,, ¸¶À½¸ÔÀº´ë·Î,,, ¿¡ µ¿¿øµÈ ¹°°Ç 4  ¹¹Å͸® 2025-10-22 2 337
21840 »çÁø°Ô½ÃÆÇ   ¸¶À½¸ÔÀº´ë·Î ¾Æ´Ï µÇ¿É´Ï´Ù 6  ¹¹Å͸® 2025-10-20 3 428
21839 »çÁø°Ô½ÃÆÇ   2025 ¾Æµ¦½º Çà»çÁß À̶ó´Âµ¥  4  ¹¹Å͸® 2025-10-17 2 375
    
Åå BEST ¼±Á¤ÀÛ
  • Çü»ó±â¾ï´Ô
  • ºÎÀڹ̼ҴÔ
  • ºÎÀڹ̼ҴÔ
  • Â÷»ç¶û777´Ô
  • ºÎÀڹ̼ҴÔ
Copyright 1999-2026 Zeroboard
¸ÇÀ§·Î