https://www.canonnews.com ¿¡ ij³í Ç®»çÀÌÁî DSLR ¿ëÀÇ ±¤°¢ ÁÜ ·»Áî Æ¯Çã°¡ ¼Ò°³µÇ°í ÀÖ´Ù.
[¿ø¹® ¸µÅ©&¿ä¾à]
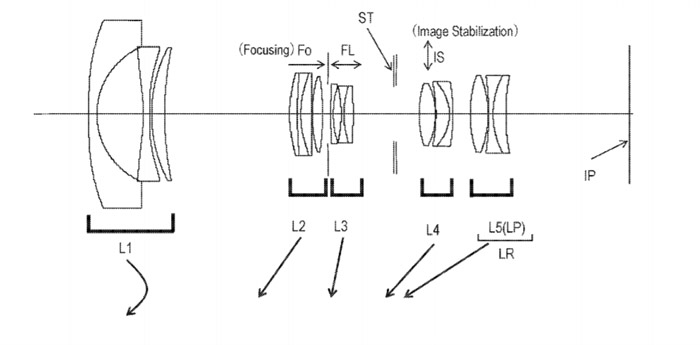
Canon Patent Application : Canon EF 17-70mm
ij³íÀº ÄÁ½´¸Ó¿ë ±¤°¢ °í¹èÀ² ÁÜ ·»ÁîÀÎ 17-70mm F3.5-5.6ÀÇ Æ¯Çã( USPTO20180275370 )¸¦ Ãâ¿øÇϰí ÀÖ´Ù.
ÃÊÁ¡ °Å¸® : 17.40-67.98
F °ª : 3.23-5.85
»ó ³ôÀÌ : 21.64-21.64
¹é Æ÷Ä¿½º : 38.38-84.83

ij³íÀº ÀÌ¿Í ºñ½ÁÇÑ ·»ÁîÀÎ Ç®»çÀÌÁî ¿ë 16-60mm F3.5-6.3ƯÇã ( USPTO20180275382 )µµ Ãâ¿øÇϰí ÀÖ´Ù.
ÃÊÁ¡ °Å¸® : 16.30-58.00
F °ª : 3.59-6.37
»ó ³ôÀÌ : 21.64-21.64
¹é Æ÷Ä¿½º : 38.42-83.75

¡Ø. Ç®»çÀÌÁî ¿ë¿¡¼ 17-70mm ¸é, Ãʱ¤°¢°ú Ç¥ÁØ ÁÜ ¸ðµÎ Ä¿¹öÇÏ´Â ±¤¹üÀ§ÇÑ ÁÜ ¹üÀ§´Ù. ºñ·Ï °¡º¯ Á¶¸®°³À̱ä ÇÏÁö¸¸ 4¹è°¡ ³Ñ´Â ÁÜ ¹èÀ²Àº ¿©·¯¸ð·Î ¾µ¸ð°¡ ¸¹À» µí. »ó¿ëÈ ¿©ºÎ´Â ¾Ë ¼ö ¾øÁö¸¸ »óǰȰ¡ µÈ´Ù¸é Ç®»çÀÌÁî ¹× APS-C ¹Ùµð ¸ðµÎ À¯¿ëÇÑ ÁÜ ·»Áî°¡ µÇÁö ¾ÊÀ»±î ½Í´Ù.






























ÃÖ±Ù Ä¿¹Â´ÏÆ® ¸®½ºÆ®