Æ÷¼Áî·ç¸Ó½º¿¡ ¿Ã¸²Çª½º Ç¥ÁØ ÁÜ °í¹èÀ² ÁÜ Æ¯Çã°¡ °ÔÀçµÇ¾ú´Ù.
[¿ø¹® ¸µÅ©] New Olympus patent discloses a new 12-80mm lens design
¿Ã¸²Çª½º´Â ÇöÀç 12-50mm F3.5-6.3 EZÀÇ ÁÜ ¿µ¿ªÀ» È®Àå½ÃŲ ¹öÀüÀ» °³¹ßÇϰí ÀÖ´Â °ÍÀ¸·Î ÃßÁ¤µÈ´Ù.
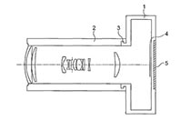
ºÏ¹ÌÀÇ Æ¯Ç㸦 ÅëÇØ ¸î °¡Áö »õ·Î¿î ·»Áî ±ºÀÇ µðÀÚÀΰú ½ºÆåÀ» ¿´º¼ ¼ö ÀÖ´Ù.

- 12-60mm f / 3.9-6.1 (±¤°¢½Ã ±æÀÌ´Â 62mm)
- 12-70mm f / 3.9-6.1 (±¤°¢½Ã ±æÀÌ´Â 64mm)
- 12-85mm f / 3.9-6.1 (±¤°¢½Ã ±æÀÌ´Â 70mm)
- 12-120mm f / 4.0-6.2 (±¤°¢½Ã ±æÀÌ´Â 95mm)
- 12-150mm f / 3.9-6.2 (±¤°¢½Ã ±æÀÌ´Â 98mm)
*. ƯÇã Ãâó : http://www.freepatentsonline.com/9726868.pdf
*. ƯÇã ¸®½ºÆ® µéÀº Ȱ¢ÆøÀÌ ³ÐÀº º¸±ÞÇü ÁÜ ·»ÁÀÎµí º¸ÀδÙ. ±âÁ¸ 12-50 EZ ÀÇ °æ¿ì F3.5-6.3 ·»Áî ¹à±â¸¦ Áö³æ´Âµ¥ ƯÇã·Î ¼Ò°³µÈ ·»ÁîµéÀº ±¤°¢Àº Á» ´õ ¾îµÓ°Ô ½ÃÀÛÇÏÁö¸¸ ¸Á¿øÀº Á» ´õ ¹à´Ù. ¾î¶² Á¦Ç°ÀÌ Á¦Ç°È µÉ Áö´Â ¾Ë ¼ö ¾øÁö¸¸, ÄÄÆÑÆ®ÇÑ Å©±âµµ ²Ï Áß¿äÇÒ µí. 12-150mm ·»Áî´Â ȯ»ê 24-300mm·Î¼ ¿©Çà¿ëÀ¸·Î ÃÖ°íÀÇ È°¢À» Áö³æ´Ù. 12-50 EZÀÇ ÈļÓÀ¸·Î¼´Â 12-60 À̳ª 12-70 ¾î¶² ·»Áîµµ ȯ¿µ¹ÞÀ» ¸¸ ÇÏ´Ù.






























ÃÖ±Ù Ä¿¹Â´ÏÆ® ¸®½ºÆ®