µðÇǸ®ºä¿¡ °ÔÀçµÈ ´ÏÄÜ °î¸é Ç®»çÀÌÁî ¼¾¼¿ë 35mm F2·»Áî Æ¯Çã´Ù.
[¿ø¹® Á¦¸ñ] Nikon patents 35mm F2.0 lens for camera with curved full frame sensor

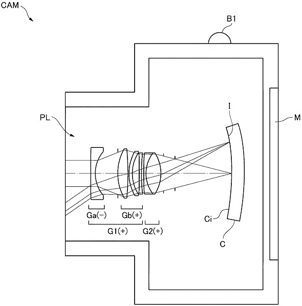
´ÏÄÜÀÇ »õ·Î¿î ·»Áî Æ¯Çã°¡ ÈÁ¦°¡ µÇ°í ÀÖ´Ù. »õ·Î¿î ·»Áî Æ¯Çã´Â 35mm F2.0 À¸·Î¼ °î¸éÇü Ç®»çÀÌÁî ¼¾¼ ¿ëÀ¸·Î °³¹ßµÈ ·»Áî´Ù.
´Ù¸¸ ÀÌ ·»Áî°¡ ¹Ì·¯¸®½º Ä«¸Þ¶ó¿¡ ä¿ëµÇ´Â Áö¿¡ ´ëÇØ¼´Â ¾ÆÁ÷±îÁö ÃæºÐÇÑ Á¤º¸´Â ¾ø´Ù.
*.¼Ò°³µÈ ƯÇã ·»Áî´Â ¾Æ¹«·¡µµ Ç®»çÀÌÁî ¼¾¼¸¦ ä¿ëÇÑ ·»Áî °íÁ¤½Ä Ä«¸Þ¶ó ¿ëÀÏ °¡´É¼ºÀÌ ³ô´Ù. ´Ù¸¸, ½ÇÁ¦·Î Á¦Ç°È µÉ °¡´É¼ºÀº ÆÄ¾ÇÀÌ ¾î·Æ´Ù.































ÃÖ±Ù Ä¿¹Â´ÏÆ® ¸®½ºÆ®